Unul dintre motivele invocate de autorii scrisorii este faptul că softul „Rekognition” are un nivel scăzut de precizie pentru a recunoaște imagini cu femei și cu persoane cu ten mai închis.
Mai mult, același program a identificat, în 2018, în mod eronat, 28 de congresmeni americani ca fiind persoane ce fuseseră arestate, avertizează reprezentanții Uniunii Americane pentru Libertăți Civile (ACLU), conform Business Insider.
Printre semnatarii scrisorii deschise adresate conducerii Amazon se numără cercetători din cadrul unor giganți din domeniul IT, precum Facebook, Microsoft, Google, dar și din companii specializate în inteligență artificială, precum DeepMind și OpenAI. De asemenea, Anima Anandkumar, un fost director al Amazon Web Services, a semnat scrisoarea.
„Cerem Amazon să nu vândă programul Rekognition poliției deoarece legislația și măsurile de securitate pentru a preveni folosirea greșită a acestuia nu sunt implementate”, susțin autorii scrisorii, care avertizează că astfel sunt încălcate drepturi și libertăți civile.
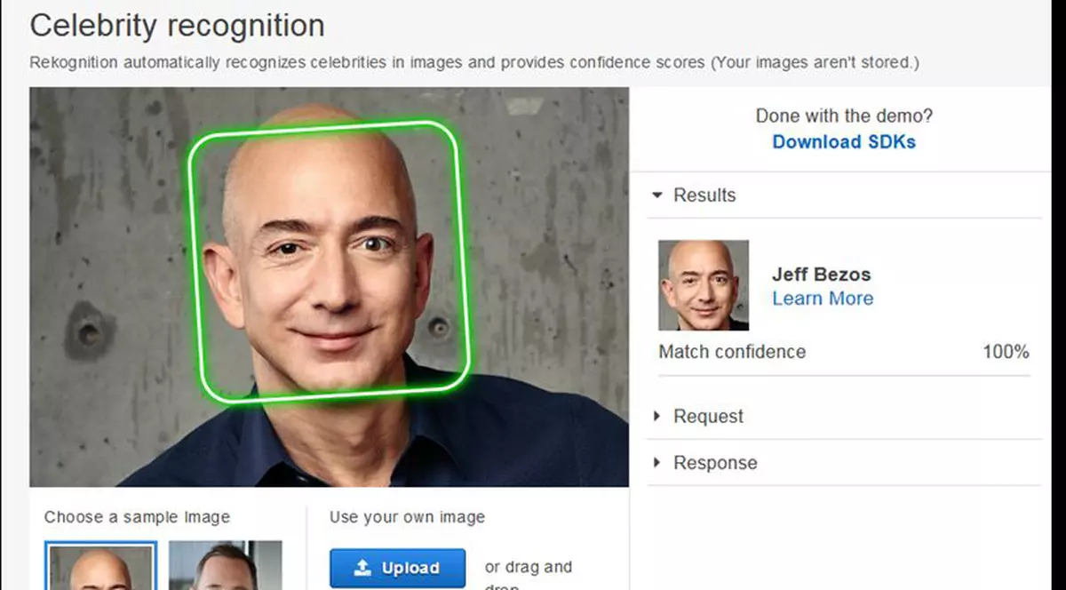
Specialiștii vor să tragă un semnal de alarmă deoarece, în opinia lor, „Rekognition”, soft-ul de recunoaștere facială dezvoltat de Amazon, conține erori. De cealaltă parte, reprezentanții Amazon au negat, însă, toate acuzațiile.
Scandalul a izbucnit în ianuarie, ca urmare a dezvăluirilor făcute de cercetătorii MIT și a celor din cadrul Universității din Toronto. Studiul acestora a arătat că programul „Rekognition” a fost lipsit de acuratețe pentru a recunoaște chipurile femeilor și a persoanelor cu ten mai închis. Eroarea a fost semnalată, în momentul în care softul a fost comandat să identifice dacă într-o imagine era un bărbat sau o femeie.
De asemenea, semnatarii scrisorii deschise amintesc că programul dezvoltat de Amazon a înregistrat o rată de eroare de aproape 31 la sută în privința identificării femeilor de culoare.
Contactați de Business Insider, reprezentanții companiei Amazon nu au făcut comentarii despre acest subiect.
Jeff Bezos, fondatorul și directorul Amazon, a apărat însă practicile companiei sale spunând că va continua să susțină apărarea SUA, spre deosebire de Google.
Amazon concurează și pentru un mega-contract de 10 miliarde de dolari oferit de Pentagon pentru servicii cloud. Datorită creșterii puternice a acțiunilor Amazon, Jeff Bezos a ajuns cel mai bogat om din lume, cu o avere de peste 150 de miliarde de dolari.
sursă foto: amazon.com
Citește și:
:contrast(8):quality(75)/https://www.libertatea.ro/wp-content/uploads/feed/images/280_b2f802206437f37db4e1a68ad276b627.jpg)
:contrast(8):quality(75)/https://www.libertatea.ro/wp-content/uploads/feed/images/280_3b56d642b166819d584cd012c00207ae.jpg)
:contrast(8):quality(75)/https://www.libertatea.ro/wp-content/uploads/feed/images/280_551a9984090b3e3469f864f0375e40cd.jpg)
:quality(75)/https://www.libertatea.ro/wp-content/uploads/feed/images/280_77b055df13f1704bc1b7fc2360d6b958.png)
:contrast(8):quality(75)/https://www.libertatea.ro/wp-content/uploads/feed/images/280_c3d03d1585ec819282261eb6b51e8f25.jpg)
:contrast(8):quality(75)/https://www.libertatea.ro/wp-content/uploads/feed/images/280_d69bce96ad5a2a3b509c2bc4ae5c7e70.jpg)
:quality(75)/https://www.libertatea.ro/wp-content/uploads/feed/images/276_cd5b7f677f19c87b92383f9d178397e8.png)
:contrast(8):quality(75)/https://www.libertatea.ro/wp-content/uploads/feed/images/206_c9c259b78d9a1e0f8f142d10eccd3913.jpeg)
:contrast(8):quality(75)/https://www.libertatea.ro/wp-content/uploads/feed/images/278_cc3be885a7b78fca9b31169a61f95d9c.webp)
:contrast(8):quality(75)/https://www.libertatea.ro/wp-content/uploads/feed/images/50_3f76e8204d7e7c95431300dabc9a4abc.jpg)
:contrast(8):quality(75)/https://www.libertatea.ro/wp-content/uploads/feed/images/281_a22b1443b905f56da42292528d1fd6ce.jpg)
:contrast(8):quality(75)/https://www.libertatea.ro/wp-content/uploads/feed/images/153_54a945b7bcc4a42d382684dd041848ec.webp)
:contrast(8):quality(75)/https://www.libertatea.ro/wp-content/uploads/feed/images/233_cee950251ea97f558fb09cee14329f72.jpg)
:contrast(8):quality(75)/https://www.libertatea.ro/wp-content/uploads/feed/images/253_3eeb8c2c1a2d211eb913407f6fa146a1.jpg)
:contrast(8):quality(75)/https://www.libertatea.ro/wp-content/uploads/feed/images/197_4a22f50844777c07997f2950c4af9748.jpg)
:contrast(8):quality(75)/https://www.libertatea.ro/wp-content/uploads/feed/images/284_731e7655ed3931214c5d625c867d3b2e.jpg)
:contrast(8):quality(75)/https://www.libertatea.ro/wp-content/uploads/feed/images/275_7f0b16ebab2b1809b31ac690110ef3c9.jpg)
:contrast(8):quality(75)/https://www.libertatea.ro/wp-content/uploads/feed/images/274_2c79aa4abf2331e1563b0777489410ae.jpg)
:contrast(8):quality(75)/https://www.libertatea.ro/wp-content/uploads/feed/images/274_c1167e9e73035572301ac3daa7917bcf.jpg)
:contrast(8):quality(75)/https://www.libertatea.ro/wp-content/uploads/feed/images/284_262584e292caede6f634db1e9d48c68c.jpg)
:contrast(8):quality(75)/https://www.libertatea.ro/wp-content/uploads/feed/images/16_614e3e84d0b44cab7831d65e490ce9dd.jpg)
Politic
:contrast(8):quality(75)/https://www.libertatea.ro/wp-content/uploads/feed/images/289_776c79e01e6ab7777ddd387124e05bbb.jpg)
:contrast(8):quality(75)/https://www.libertatea.ro/wp-content/uploads/feed/images/206_7c696bcb6724be2d29c2cfcffbc7acc4.jpg)
:contrast(8):quality(75)/https://www.libertatea.ro/wp-content/uploads/feed/images/255_c346f3b4d749078c98f6777766050f66.webp)
:contrast(8):quality(75)/https://static4.libertatea.ro/wp-content/uploads/2019/04/facebook-google-si-microsoft-apel-catre-amazon-sa-nu-si-vanda-programul-de-recunoastere-faciala-politiei.jpg)
:contrast(8):quality(75)/https://www.libertatea.ro/wp-content/uploads/feed/images/204_629fbbbfd37c9a2667b76683290f552f.jpg)
:contrast(8):quality(75)/https://www.libertatea.ro/wp-content/uploads/feed/images/204_15e4e9003fdddc998b7a32e41809d747.jpg)
:contrast(8):quality(75)/https://static4.libertatea.ro/wp-content/uploads/2026/04/artmania-festival-2026.jpg)
:contrast(8):quality(75)/https://static4.libertatea.ro/wp-content/uploads/2026/04/realitatea-plus.jpg)
:contrast(8):quality(75)/https://www.libertatea.ro/wp-content/uploads/feed/images/287_f70b657aa43466f1a00ea708cad571df.jpg)
:contrast(8):quality(75)/https://www.libertatea.ro/wp-content/uploads/feed/images/287_c47018bca1700db6f90059aca5956274.jpg)
:contrast(8):quality(75)/https://static4.libertatea.ro/wp-content/uploads/2026/04/hepta8403158-1.jpg)
:contrast(8):quality(75)/https://static4.libertatea.ro/wp-content/uploads/2025/12/anisia-gafton-pro-tv.jpg)
:contrast(8):quality(75)/https://www.libertatea.ro/wp-content/uploads/feed/images/172_4ad8e4238c4cc9aca56a01dbe69abd97.jpg)
:contrast(8):quality(75)/https://www.libertatea.ro/wp-content/uploads/feed/images/172_dfb2b45b6c232a1e964cd0b901445c05.jpg)
:contrast(8):quality(75)/https://www.libertatea.ro/wp-content/uploads/feed/images/179_3a65ef23db354ac092f7c2c1b42705e9.jpg)
:quality(75)/https://www.libertatea.ro/wp-content/uploads/feed/images/179_246042b34857f66661de2bdd7c770f01.png)
:contrast(8):quality(75)/https://static4.libertatea.ro/wp-content/uploads/2026/04/bolojan-si-grindeanu-inquam-photos-octav-ganea-scaled-e1776630436620.jpg)
:contrast(8):quality(75)/https://static4.libertatea.ro/wp-content/uploads/2026/04/8072095-mediafaxfoto-alexandrudobre-1-1024x683-1.webp)
:contrast(8):quality(75)/https://static4.libertatea.ro/wp-content/uploads/2026/04/granita-germano-elvetiana-in-weil-am-rhein-germania--imagine-cu-caracter-ilustrativ--foto-north-foto-1-e1776801805521.jpg)
:contrast(8):quality(75)/https://static4.libertatea.ro/wp-content/uploads/2026/04/barbat-telefon-accesat-facebook.jpg)
:contrast(8):quality(75)/https://static4.libertatea.ro/wp-content/uploads/2026/04/cec-medical-cabinet-4-1.jpg)
:contrast(8):quality(75)/https://static4.libertatea.ro/wp-content/uploads/2026/04/punct-de-control-aleatoriu-al-politiei--imagine-cu-caracter-ilustrativ--foto-profimedia-e1776781017577.jpg)
:contrast(8):quality(75)/https://static4.libertatea.ro/wp-content/uploads/2026/04/profimedia-1087666232-e1776777190293.jpg)
:contrast(8):quality(75)/https://static4.libertatea.ro/wp-content/uploads/2026/04/ce-inseamna-expresia-a-picat-ca-musca-in-lapte-si-de-unde-vine.jpg)
:contrast(8):quality(75)/https://static4.libertatea.ro/wp-content/uploads/2026/04/barbat-consulta-acte.jpg)
:contrast(8):quality(75)/https://static4.libertatea.ro/wp-content/uploads/2026/04/cele-mai-dificile-cuvinte-de-despartit-in-silabe.jpg)
:contrast(8):quality(75)/https://static4.libertatea.ro/wp-content/uploads/2026/04/galeata-mortar.jpg)
:contrast(8):quality(75)/https://static4.libertatea.ro/wp-content/uploads/2026/04/robert-van-langh.jpg)
:contrast(8):quality(75)/https://static4.libertatea.ro/wp-content/uploads/2026/03/ilie-bolojan-a-avertizat-psd-si-a-amenintat-cu-ruperea-coalitiei-daca-sorin-grindeanu-depune-amendamente-la-buget-e1776795314942.jpg)
:contrast(8):quality(75)/https://static4.libertatea.ro/wp-content/uploads/2026/04/ilie-bolojan-10.jpg)
:contrast(8):quality(75)/https://static4.libertatea.ro/wp-content/uploads/2026/02/elevi-liceu-bucuresti-e1776791178737.jpg)
:contrast(8):quality(75)/https://static4.libertatea.ro/wp-content/uploads/2026/04/nicusor-dan-declaratii-ase-1.jpg)
:contrast(8):quality(75)/https://static4.libertatea.ro/wp-content/uploads/2026/04/banner-cu-mesaj-rasist-la-meciul-rapid-universitatea-craiova--foto-cristi-preda-gsp-e1776769573552.jpeg)
:contrast(8):quality(75)/https://static4.libertatea.ro/wp-content/uploads/2026/04/nicusor-dan-ilie-bolojan-afp20250620636g8zqv1highresromaniapoliticsgovernment-copy.jpg)
:contrast(8):quality(75)/https://static4.libertatea.ro/wp-content/uploads/2026/04/acord-liban-israel.jpg)
Loghează-te în contul tău pentru a adăuga comentarii și a te alătura dialogului.